Oleh: Heru Setyawan
Suatu saat distribusi aliran tidak seragam diketahui pada dua sistem pengukur gas fiskal di perusahaan gas Ex-Total E&P Indonesie di daerah Delta Mahakam, Kalimantan Timur. Pada saat itu Total E&P Indonesie adalah penghasil gas melalui 5 lapangan gas di daerah Delta Mahakam, yaitu di Handil, Bekapai, Tambora, Tunu dan Peciko. Sistem pengukur gas fiskal berkaitan dengan keterbukaan penting keuangan perusahaan dengan mitra, yang digunakan untuk:
- Pembelian dan penjualan gas
- Pertukaran gas antar perusahaan yang berbeda (operator produksi – operator sistem transmisi, dll.), dengan atau tanpa transaksi sistem keuangan.
- Alokasi gas
- Perhitungan pajak dan royalti terhadap jumlah gas yang ditransfer
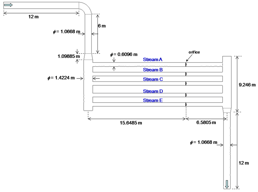
Ketidakseragaman distribusi aliran yang disebutkan di atas teramati ketika konfigurasi pipa pengukur yang digunakan diubah. Perlu diketahui bahwa dalam setiap stasion pengukuran gas, aliran gas dibagi menjadi beberapa aliran atau pipa yang lebih kecil dimana aliran pada masing-masing pipa harus sama (Gambar 1). Ketika beroperasi, satu pipa ditutup (mis.: pipa E) dan gas didistribusikan melalui 4 pipa (pipa A, B, C dan D). Apapun konfigurasinya, apakah ABCD, ACDE, ABDE, dan seterusnya, seharusnya laju alir gas yang terukur sama. Jika berbeda, ini menjadi masalah yang sangat serius. Inspeksi seksama laju alir gas pada setiap aliran menunjukkan bahwa ketidaksamaan ini disebabkan oleh laju alir gas yang lebih rendah pada salah satu aliran. Temuan ini mengarah pada kecurigaan bahwa gejala ini mungkin berkaitan dengan konfigurasi dan geometri sistem pengukuran.

Tinjauan pengukur gas fiskal
Seperti disebutkan di atas, sistem pengukur gas fiskal berkaitan dengan keterbukaan keuangan perusahaan dan mitranya. Sistem ini harus memenuhi beberapa persyaratan seperti: (i) mematuhi regulasi, perjanjian kontrak dan standar yang berlaku, (ii) dirancang dan dioperasikan untuk mencapai target akurasi yang tinggi (< 1%), dan (iii) dapat diaudit. Sistem pengukur yang akurat dan dioperasikan dengan teliti akan memberikan penentuan kuantitas dan kualitas yang meyakinkan sementara meminimalkan resiko keuangan karena kesalahan yang tak terkendali.
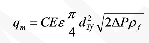
Sistem pengukur meliputi “N + 1” alat ukur. Pada kondisi normal, paling tidak satu alat ukur ditutup agar mampu mengkompensasi bila terjadi kegagalan salah satu alat ukur, atau untuk pemeliharaan pada salah satu alat ukur aktif. Alat ukur utama pada sistem pengukur gas fiskal di sini adalah orifice meter (Gambar 2). Yang pernah belajar aliran fluida pasti sudah sangat mengenal alat ukur aliran ini. Unsur utama sebuah orifice meter adalah sebuah pelat datar yang berlubang yang dipasang dalam pipa yang tegak lurus arah aliran. Karena ada penghalang pada aliran, tekanan gas akan mengalami penurunan. Penurunan tekanan antara titik 1 dan 2 inilah yang diukur, yang kemudian dihubungkan dengan kecepatan gas melalui persamaan Bernoulli dengan tambahan faktor koreksi. Salah satu bentuk persamaan untuk menghitung laju alir massa dari pengukuran penurunan tekanan adalah

dimana C adalah koefisien orifice, E adalah koefisien pendekatan, epsilon adalah koefisien muai yang tergantung pada tekanan hilir dan hulu, DTf adalah diameter orifice dan rhof adalah densitas gas.

Barangkali yang sering luput dalam kuliah adalah pembahasan mengenai syarat aliran ketika alat ukur ini dipasang agar hasil pengukuran akurat. Kondisi paling diinginkan pada inlet alat ukur (orifice) adalah bahwa aliran telah dalam keadaan terkembang penuh, dengan kata lain, kondisi aliran tak terganggu. Kondisi ini dapat dicapai dengan memasang pipa lurus yang cukup panjang sebelum orifice yang panjangnya tergantung pada konfigurasi pipa dan gangguan. Header menyediakan distribusi aliran seragam melalui pipa alat ukur. Header sebelum dan setelah orifice ukurannya harus diperbesar untuk menjaga kecepatan gas dalam pipa rendah, membatasi gangguan aliran dan mengizinkan aliran dibagi secara seragam pada pipa ukur.
Beda tekanan karena adanya orifice dalam pipa diukur dengan sensor tekanan diferensial, yang terdiri atas dua kisaran pengukuran: laju alir rendah dan tinggi. Karena gas alam adalah fluida dapat dimampatkan, ketika gas mengalir dari daerah bertekanan tinggi ke daerah bertekanan rendah seperti setelah melewati orifice, gas mengembang dan suhunya turun. Jadi, suhu memainkan peran penting dalam perhitungan jumlah dan aliran gas (mis.: Mcf, Dth, MMBtu, dll.) dalam sebuah orifice meter. Suhu gas digunakan dalam perhitungan pengukuran aliran dan energi gas yang meliputi:
- Penyesuaian untuk hukum Charles
- Perhitungan densitas gas
- Perhitungan kompresibilitas gas
- Penyesuaian geometri alat ukur untuk muai panas
- Perkiraan titik embun dan perubahan fasa
- Perkiraan kadar uap air
- Perkiraan kecepatan suara
Pengukuran suhu gas menyumbang langsung pada akurasi pengukuran keseluruhan. Semakin besar kesalahan pengukuran suhu, ketidakpastian pengukuran keseluruhan menjadi semakin tinggi. Bahkan kesalahan pengukuran suhu yang relatif kecil dapat berdampak besar pada garis dasar.
Semua instrumentasi yang diuraikan di atas sudah dikalibrasi oleh lembaga yang berwenang dan hasil kalibrasi menunjukkan hasil bahwa sensor sampai dengan instrumentasi yang berkaitan dengan pengukuran bekerja dengan baik. Jadi, masalah ketidakseragaman distribusi aliran ketika konfigurasi aliran diubah memang kemungkinan ada pada konfigurasi dan geometri sistem pengukuran.
Pengamatan lapangan
Sebelum mulai melakukan analisa secara teoritis menggunakan computational fluid dynamics (CFD), kami melakukan pengamatan lapangan selama kurang lebih 1 minggu di sistem pengukuran gas fiskal di 5 lapangan gas di Handil, Bekapai, Tambora, Tunu dan Peciko. Gambar 3 menunjukkan foto salah satu sistem pengukur gas fiskal. Kami mengamati bahwa saluran masuk ke header pengukur gas untuk semua alat ukur gas relatif pendek dari sudut pandang rasio panjang terhadap diameter pipa. Ini yang mungkin menjadi penyebab utama fenomena distribusi aliran yang tidak sama antara masing-masing aliran atau antara konfigurasi yang digunakan.
Secara teoritis, setelah berubahnya arah aliran seperti dalam elbow, aliran yang mula-mula terkembang penuh (fully developed) terganggu dan perlu waktu beberapa lama sebelum aliran kembali terkembang penuh. Kalibrasi acuan atau garis dasar untuk orifice meter harus terdiri dari panjang pipa pengukur hulu antara 70 D and 100 D. Untuk panjang pipa hulu 45 D and Do/D = 0,75, ada perbedaan nilai koefisien orifice sekitar 0,2% dibandingkan dengan yang 100 D.
Computational fluid dynamics
Computational fluid dynamics (CFD) adalah analisa sistem yang melibatkan aliran fluida, perpindahan panas dan fenomena terkait seperti reaksi kimia dengan cara simulasi berbasis komputer. Teknik ini sangat kuat dan menjangkau rentang yang lebar bidang aplikasi industri dan nonindustri. Beberapa contoh adalah:
- aerodinamika pesawat terbang dan kendaraan: angkat dan seret
- hidrodinamika kapal
- pembangkit listrik: pembakaran dalam mesin pembakaran dalam dan turbin gas
- permesinan turbo: aliran dalam lintasan yang berputar, difuser, dll.
- teknik listrik dan elektronika: pendinginan peralatan yang melibatkan mikrosirkuit
- teknik proses kimia: pencampuran dan pemisahan, reaksi kimia dalam reaktor
- lingkungan luar dan dalam bangunan: beban angin dan pendinginan/ventilasi
- teknik kelautan: beban pada struktur tengah laut
- teknik lingkungan: distribusi polutan dan buangan
- hidrologi dan oseanografi: aliran sungai, estuaria, laut
- metereologi: ramalan cuaca
- teknik biomedik: aliran darah melalui arteri dan vena
Beberapa contoh aplikasi CFD dalam bidang teknik kimia yang telah kami lakukan antara lain:
- Dispersi padatan dalam tangki berpengaduk
- Transport partikel halus dalam reaktor deposisi uap kimia
- Aliran gas bertekanan rendah dalam pipa sempit
- Karakteristik makro-instabilitas dalam tangki berpengaduk
- Pembentukan nanopartikel dalam reaktor aerosol
Persamaan yang mengatur aliran fluida mewakili pernyataan matematika hukum konservasi fisika dimana massa fluida, momentum, energi dan sifat lain adalah kekal. Salah satu persamaan dasar adalah yang dikenal sebagai persamaan Navier-Stokes.
Perilaku aliran
Simulasi CFD dilakukan dengan domain perhitungan seperti ditunjukkan pada Gambar 1. Table 1 menunjukkan hasil simulasi CFD distribusi aliran massa dan laju alir volumetrik terkait ke dalam pipa pengukur untuk berbagai konfigurasi. Dapat dilihat bahwa ada peningkatan laju alir dalam pengukur pipa di hulu, yaitu: FQ-A < FQ-B < FQ-C < FQ-D < FQ-E. Peningkatan ini mungkin berasal dari perbedaan pola aliran dan kondisi aliran gas ketika gas masuk ke pengukur pipa setelah terganggu oleh kombinasi belokan dan T di hulu pipa.

Gambar 4(a) menunjukkan medan aliran di dalam sistem pengukur gas untuk kasus pipa A ditutup. Dapat dilihat bahwa aliran belum terkembang penuh ketika gas mencapai pintu masuk header dan kecepatan turun drastis karena pembesaran luas penampang. Kecepatan gas di hulu lebih tinggi daripada kecepatan di hilir. Ini bisa menjelaskan mengapa laju alir dalam hulu pengukur pipa lebih rendah daripada laju alir di hilir. Selain itu, jarak untuk mencapai kondisi terkembang penuh untuk pipa di hulu lebih jauh. Ada penurunan tekanan yang signifikan ketika melewati orifice seperti dipersyaratkan dalam pengukuran (kira-kira 0.14 to 0.15 atm). Suhu gas juga turun secara signifikan ketika menyeberangi orifice karena ekspansi gas. Inilah mengapa suhu memainkan bagian penting dalam perhitungan jumlah dan aliran gas (mis.: Mcf, Dth, MMBtu, dll.) dimana orifice meter digunakan dan pengukuran suhu gas menyumbang secara langsung terhadap akurasi pengukuran keseluruhan. Seperti yang dinyatakan dalam Persamaan (1), laju alir massa dihitung dari beda tekanan dan densitas. Densitas gas dipengaruhi oleh tekanan dan suhu. Jadi, perubahan suhu gas akan memiliki pengaruh yang signifikan pada pengukuran aliran gas.

(a) 
(b)
Gambar 4(b) menunjukkan medan kecepatan untuk kasus pipa B ditutup. Hasil ini serupa dengan kasus sebelumnya ketika pipa A ditutup. Akan tetapi, tampak lebih jelas bahwa diperlukan jarak yang lebih jauh untuk mencapai kondisi terkembang penuh untuk pipa pengukur yang lebih dekat dengan inlet header. Dalam kasus ini, aliran dalam pipa A belum mencapai kondisi terkembang penuh (seperti dipersyaratkan oleh standar) ketika mencapai orifice. Agar lebih jelas, profil kecepatan aksial pada beberapa posisi dalam pipa A diplot dan ditunjukkan pada Gambar 5(a). Sebagai pembanding, profil yang sama juga diplot untuk pipa yang lain seperti ditunjukkan pada Gambar 5(b-d). Untuk pipa A jelas bahwa profil masih menyimpang dari profil terkembang penuh bahkan ketika aliran lebih dekat ke orifice. Ini berbeda dengan kasus pipa E dimana aliran bertepatan dengan terkembang penuh jauh dari orifice. Dalam pipa di tengah (C dan D), jarak untuk mencapai aliran terkembang penuh lebih jauh daripada pipa E. Penyimpangan profil kecepatan dari terkembang penuh bisa menyebabkan kesalahan dalam pengukuran orifice. Hasil konfigurasi lain dengan menjalankan pipa A dan menutup salah satu pipa adalah serupa (tidak ditunjukkan).

Pengaruh panjang pipa lurus sebelum header
Panjang pipa lurus sebelum header relatif pendek, dalam hal ini L = 6.5 D. Secar teoritis, setelah arah aliran berubah seperti dalam belokan, aliran yang semula terkembang penuh terganggu dan perlu waktu untuk kembali terkembang penuh. Fenomena ini sering disebut sebagai efek ujung. Efek ujung ini menghilang setelah jarak tertentu, umumnya setelah L > 10D dimana L adalah panjang dan D adalah diameter pipa yang tergantung pada bilangan Reynolds. Jadi, dengan kondisi ini dianggap bahwa aliran masuk header pengukur gas belum terkembang penuh. Oleh sebab itu pengaruh panjang pipa lurus sebelum masuk header dipelajari dan domain perhitungan ditunjukkan pada Gambar 6(a). Sebagai pembanding, simulasi juga dikerjakan untuk pipa lurus sebelum header cukup panjang, yaitu: L/D = 13, sehingga aliran telah terkembang penuh dan efek ujung dapat diabaikan. Domain simulasi untuk kasus ini ditunjukkan pada Gambar 6(b).

Rangkuman laju alir massa gas yang melalui masing-masing pipa pengukur berdasarkan simulasi CFD untuk inlet pendek (sebenarnya) dan untuk inlet panjang ditunjukkan pada Tabel 2. Untuk inlet pendek, distribusi aliran diantara pipa pengukur, pada umumnya, meningkat dari pipa A ke E, yaitu: FQ-A < FQ-B < FQ-C < FQ-D < FQ-E. Kecenderungan yang sama juga diamati untuk kasus pipa panjang. Efek ini bisa lebih jelas dengan melihat profil kecepatan dalam masing-masing pipa pengukur.

(a) 
(b)
Gambar 7 menyajikan profil kecepatan pengukur gas untuk kasus B ditutup, serupa dengan Gambar 5, tetapi pipa masuk ke header lebih panjang. Ini berbeda dengan sebelumnya dimana belokan sebelum masuk header hanya satu, bukan dua. Meskipun ada pusaran dalam pipa A, tetapi pusaran ini menghilang dengan cepat dan jarak untuk kembali ke aliran terkembang penuh lebih pendek. Ini menyarankan bahwa kombinasi belokan ganda dan T akan memengaruhi pengukuran gas.

Kesimpulan
Berdasarkan hasil simulasi dapat disimpulkan hal-hal sebagai berikut:
- Panjang pipa yang masuk header pengukur memiliki pengaruh terhadap perilaku aliran dalam pipa pengukur dengan pengaruh terbesar pada pipa A, pipa yang terdekat dengan inlet. Perlu jarak lebih jauh bagi aliran untuk kembali terkembang penuh ketika pipa pendek yang bisa mengarah pada kesalahan dalam pengukuran gas.
- Meskipun header dipasang untuk menjamin distribusi aliran yang sama untuk pengukur yang dijalankan, ada sedikit ketidaksamaan distribusi dengan peningkatan aliran dari hulu ke hilir. Aliran ini harus cukup disetimbangkan untuk membuat aliran memisah ke pipa dengan sama.
- Dari hasil studi ini direkomendasikan untuk memperpanjang pipa lurus di hulu atau menambah pengkondisi aliran untuk menjamin babhwa aliran telah terkembang penuh ketika mencapai pelat orifice agar mendapatkan hasil pengukuran yang akurat.
Studi ini adalah salah satu contoh studi yang kami lakukan untuk melakukan diagnosa secara teoritis menggunakan alat CFD terhadap kejanggalan yang terjadi dalam proses industri. Hasil yang dipaparkan di sini hanya sebagian kecil saja dari laporan lengkap yang telah dikirimkan. Jika ada yang mengalami persoalan serupa atau persoalan lain yang terjadi dalam proses industri dan memerlukan studi mendalam silakan hubungi kami.



Leave a comment